Giaibaitoan.com xin giới thiệu Đề tham khảo thi vào 10 môn Toán Hà Nội năm 2025 - Đề số 8. Đây là một trong những đề thi được biên soạn dựa trên cấu trúc và nội dung chương trình Toán lớp 9, bám sát đề thi tuyển sinh vào các trường THPT chuyên và không chuyên tại Hà Nội.
Đề thi này được thiết kế để giúp học sinh làm quen với dạng đề, rèn luyện kỹ năng giải toán và đánh giá năng lực bản thân trước kỳ thi quan trọng. Chúng tôi hy vọng đề thi này sẽ là tài liệu ôn tập hữu ích cho các em học sinh.
Câu 1: (1,5 điểm) 1) Nam thống kê lại độ dài quãng đường (đơn vị: km) mình đi bộ mỗi ngày trong tháng 9 và biểu diễn dưới dạng biểu đồ tần số tương đối ghép nhóm sau:
Câu 1:(1,5 điểm)
1) Nam thống kê lại độ dài quãng đường (đơn vị: km) mình đi bộ mỗi ngày trong tháng 9 và biểu diễn dưới dạng biểu đồ tần số tương đối ghép nhóm sau:

Tìm nhóm có tần số tương đối ghép nhóm lớn nhất. Xác định tần số của nhóm đó.
2) Một hộp có 20 viên bi với kích thước và khối lượng như nhau. Bạn Ngân viết lên các viên bi đó các số 1, 2, 3, …, 20; hai viên bi khác nhau thì viết hai số khác nhau. Xét phép thử “Lấy ngẫu nhiên một viên bi trong hộp”. Tính xác suất biến cố “Số xuất hiện trên viên bi được lấy ra chia 7 dư 1”.
Phương pháp
1) Xác định nhóm có tần số tương đối ghép nhóm lớn nhất.
Tần số của nhóm = tổng . tần số tương đối.
2) Xác định không gian mẫu của phép thử, tính số phần tử của không gian mẫu.
Tính số kết quả thuận lợi của biến cố.
Xác suất của biến cố = số kết quả thuận lợi của biến cố : số phần tử của không gian mẫu.
Lời giải
1) Nhóm có tần số tương đối ghép nhóm lớn nhất là [5;6) với tần số tương đối ghép nhóm là 40%.
Vì tháng 9 có 30 ngày nên có tất cả 30 số liệu trong mẫu số liệu.
Tần số của nhóm [5;6) là: n = 30.40% = 12.
2) Tập hợp các kết quả có thể xảy ra là: \(\Omega = \{ 1;2;...;20\} \), suy ra \(n\left( \Omega \right) = 20\).
Gọi T: “Số xuất hiện trên viên bi được lấy ra chia 7 dư 1”.
Các kết quả thuận lợi cho T là: 1; 8; 15. Do đó \(n\left( T \right) = 3\).
Vậy xác suất của biến cố “Số xuất hiện trên viên bi được lấy ra chia 7 dư 1” là \(P(T) = \frac{{n(T)}}{{n(\Omega )}} = \frac{3}{{20}}\).
Câu 2:(1,5 điểm) Cho biểu thức \(A = \frac{{\sqrt x - 2}}{{\sqrt x - 1}}\), \(B = \frac{{\sqrt x }}{{\sqrt x + 1}} + \frac{1}{{1 - \sqrt x }} + \frac{2}{{x - 1}}\) với \(x \ge 0\), \(x \ne 1\).
1) Tính giá trị biểu thức A tại x = 9.
2) Chứng minh \(B = \frac{{\sqrt x - 1}}{{\sqrt x + 1}}\).
3) Cho P = A.B. Tìm các giá trị nguyên của x để |P| + P = 0.
Phương pháp
1) Kiểm tra điều kiện của x. Nếu thỏa mãn, thay x = 9 vào A.
2) Kết hợp các tính chất của căn thức bậc hai để rút gọn biểu thức.
3) Rút gọn P. Lập luận suy ra \(P \le 0\). Giải bất phương trình, kết hợp ĐKXĐ để tìm x.
Lời giải
1) Thay x = 9 (thỏa mãn điều kiện) vào A, ta được:
\(A = \frac{{\sqrt x - 2}}{{\sqrt x - 1}} = \frac{{\sqrt 9 - 2}}{{\sqrt 9 - 1}} = \frac{1}{2}\).
Vậy khi x = 9 thì \(A = \frac{1}{2}\).
2) \(B = \frac{{\sqrt x }}{{\sqrt x + 1}} + \frac{1}{{1 - \sqrt x }} + \frac{2}{{x - 1}}\) (\(x \ge 0\), \(x \ne 1\))
\( = \frac{{\sqrt x }}{{\sqrt x + 1}} - \frac{1}{{\sqrt x - 1}} + \frac{2}{{x - 1}}\)
\( = \frac{{\sqrt x \left( {\sqrt x - 1} \right)}}{{\left( {\sqrt x + 1} \right)\left( {\sqrt x - 1} \right)}} - \frac{{\sqrt x + 1}}{{\left( {\sqrt x + 1} \right)\left( {\sqrt x - 1} \right)}} + \frac{2}{{\left( {\sqrt x + 1} \right)\left( {\sqrt x - 1} \right)}}\)
\( = \frac{{x - \sqrt x - \sqrt x - 1 + 2}}{{\left( {\sqrt x + 1} \right)\left( {\sqrt x - 1} \right)}}\)
\( = \frac{{x - 2\sqrt x + 1}}{{\left( {\sqrt x + 1} \right)\left( {\sqrt x - 1} \right)}}\)
\( = \frac{{{{\left( {\sqrt x - 1} \right)}^2}}}{{\left( {\sqrt x + 1} \right)\left( {\sqrt x - 1} \right)}}\)
\( = \frac{{\sqrt x - 1}}{{\sqrt x + 1}}\) (đpcm).
3) \(P = AB = \frac{{\sqrt x - 2}}{{\sqrt x - 1}}.\frac{{\sqrt x - 1}}{{\sqrt x + 1}} = \frac{{\sqrt x - 2}}{{\sqrt x + 1}}\).
Ta có |P| + P = 0, suy ra |P| = -P. Do đó, \(P \le 0\).
Suy ra \(\frac{{\sqrt x - 2}}{{\sqrt x + 1}} \le 0\). Mà \(\sqrt x + 1 > 0\) nên \(\sqrt x - 2 \le 0\)
\(\sqrt x \le 2\)
\(x \le 4\).
Kết hợp với điều kiện \(x \ge 0\), \(x \ne 1\) và x nguyên ta có các giá trị \(x \in \{ 0;2;3;4\} \) thỏa mãn.
Vậy để |P| + P = 0 thì \(x \in \{ 0;2;3;4\} \).
Câu 3:(2,5 điểm)
1) Nhân dịp ngày Giỗ Tổ Hùng Vương, một siêu thị điện máy đã giảm giá nhiều mặt hàng để kích cầu mua sắm. Tổng giá niêm yết của một chiếc tủ lạnh và một chiếc máy giặt là 25,4 triệu đồng. Tuy nhiên, trong dịp này tủ lạnh giảm 40% giá niêm yết và máy giặt giảm 25% giá niêm yết. Vì thế, cô Liên đã mua hai mặt hàng trên với tổng số tiền là 16,77 triệu đồng. Hỏi giá niêm yết của mỗi mặt hàng trên là bao nhiêu?
2) Một xí nghiệp sản xuất nước mắm dự định thu mua 120 tấn cá trong một thời gian nhất định. Nhờ đổi mới phương pháp thu mua, xí nghiệp đã mua vượt mức 6 tấn mỗi tuần. Vì vậy, xí nghiệp đã hoàn thành kế hoạch sớm hơn 1 tuần và vượt mức 10 tấn cá. Tính số cá mà xí nghiệp phải mua mỗi tuần theo kế hoạch.
3) Cho phương trình \(4{x^2} - 5x - 3 = 0\) có hai nghiệm là \({x_1}\), \({x_2}\). Không giải phương trình, hãy tính giá trị của biểu thức \(F = \left( {{x_1} + 1} \right)\left( {{x_2} + 1} \right) - {\left( {{x_1} - {x_2}} \right)^2}\).
Phương pháp
1) Gọi giá niêm yết của một chiếc tủ lạnh và một chiếc máy giặt lần lượt là x, y (triệu đồng; 0 < x < 25,4, 0 < y < 25,4).
Biểu diễn tổng số tiền mua tủ lạnh và máy giặt trước và sau khi giảm giá.
Lập hệ phương trình, giải hệ tìm x, y.
2) Gọi số cá mà xí nghiệp phải mua mỗi tuần theo kế hoạch là x (tấn; 0 < x < 120).
Biểu diễn số tuần xí nghiệp phải thu mua cá theo kế hoạch và thực tế.
Vì xí nghiệp hoàn thành kế hoạch sớm 1 tuần nên ta lập được phương trình.
Giải phương trình để tìm x, kiểm tra điều kiện và kết luận.
3) Kiểm tra sự tồn tại của \({x_1},{x_2}\) dựa vào \(\Delta \).
Biến đổi biểu thức và áp dụng định lí Viète: \(S = {x_1} + {x_2} = - \frac{b}{a}\); \(P = {x_1}.{x_2} = \frac{c}{a}\).
Lời giải
1) Gọi giá niêm yết của một chiếc tủ lạnh và một chiếc máy giặt lần lượt là x, y (triệu đồng; 0 < x < 25, 0 < y < 25).
Vì tổng giá niêm yết của một chiếc tủ lạnh và một chiếc máy giặt là 25,4 triệu đồng nên ta có phương trình:
\(x + y = 25,4\) (1)
Do tủ lạnh được giảm 40% giá niêm yết nên giá của một chiếc tủ lạnh sau giảm giá là:
\((1 - 40\% )x = 60\% x = 0,6x\) (triệu đồng).
Do máy giặt được giảm 25% giá niêm yết nên giá của một chiếc máy giặt sau giảm giá là:
\((1 - 25\% )y = 75\% y = 0,75y\) (triệu đồng).
Cô Liên mua một chiếc tủ lạnh và một chiếc máy giặt hết 16,77 triệu đồng sau giảm giá nên ta có phương trình:
\(0,6x + 0,75y = 16,77\) (2)
Từ (1) và (2), ta có hệ phương trình: \(\left\{ \begin{array}{l}x + y = 25,4\\0,6x + 0,75y = 16,77\end{array} \right.\)
Giải hệ, được x = 15,2 và y = 10,2 (đều TMĐK).
Vậy giá niêm yết của một chiếc tủ lạnh là 15,2 triệu đồng và giá niêm yết của một chiếc máy giặt là 10,2 triệu đồng.
2) Gọi số cá mà xí nghiệp phải mua mỗi tuần theo kế hoạch là x (tấn; 0 < x < 120).
Số tuần xí nghiệp đó định mua cá là \(\frac{{120}}{x}\) tuần.
Thực tế, mỗi tuần xí nghiệp đó thu mua được x + 6 tấn cá.
Tổng số cá vượt mức kế hoạch 10 tấn nên xí nghiệp đó đã thu mua tất cả 120 + 10 = 130 tấn cá.
Do đó, thực tế số tuần xí nghiệp thu mua cá là \(\frac{{130}}{{x + 6}}\) tuần.
Vì xí nghiệp đã hoàn thành kế hoạch sớm hơn 1 tuần nên ta có phương trình:
\(\frac{{120}}{x} - \frac{{130}}{{x + 6}} = 1\)
\(\frac{{120(x + 6)}}{{x(x + 6)}} - \frac{{130x}}{{x(x + 6)}} = \frac{{x(x + 6)}}{{x(x + 6)}}\)
\(120x + 720 - 130x = {x^2} + 6x\)
\({x^2} + 16x - 720 = 0\)
Giải phương trình trên, được x = 20 (thỏa mãn) và x = -36 (không thỏa mãn).
Vậy theo kế hoạch, mỗi tuần xí nghiệp phải thu mua 20 tấn cá.
3) Phương trình \(4{x^2} - 5x - 3 = 0\) có \(\Delta = {\left( { - 5} \right)^2} - 4.4.( - 3) = 73 > 0\) nên phương trình có hai nghiệm \({x_1}\), \({x_2}\).
Áp dụng hệ thức Viète, ta có: \(\left\{ \begin{array}{l}{x_1} + {x_2} = - \frac{b}{a} = - \frac{{ - 5}}{4} = \frac{5}{4}\\{x_1}{x_2} = \frac{c}{a} = \frac{{ - 3}}{4}\end{array} \right.\)
\(F = \left( {{x_1} + 1} \right)\left( {{x_2} + 1} \right) - {\left( {{x_1} - {x_2}} \right)^2}\)
\( = {x_1}{x_2} + {x_1} + {x_2} + 1 - \left( {{x_1}^2 - 2{x_1}{x_2} + {x_2}^2} \right)\)
\( = {x_1}{x_2} + \left( {{x_1} + {x_2}} \right) + 1 - {x_1}^2 + 2{x_1}{x_2} - {x_2}^2\)
\( = 3{x_1}{x_2} + \left( {{x_1} + {x_2}} \right) + 1 - \left( {{x_1}^2 + {x_2}^2} \right)\)
\( = 3{x_1}{x_2} + \left( {{x_1} + {x_2}} \right) + 1 - \left[ {{{\left( {{x_1} + {x_2}} \right)}^2} - 2{x_1}{x_2}} \right]\)
\( = 5{x_1}{x_2} + \left( {{x_1} + {x_2}} \right) + 1 - {\left( {{x_1} + {x_2}} \right)^2}\)
\( = 5\left( {\frac{{ - 3}}{4}} \right) + \frac{5}{4} + 1 - {\left( {\frac{5}{4}} \right)^2} = - \frac{{49}}{{16}}\).
Vậy \(F = \left( {{x_1} + 1} \right)\left( {{x_2} + 1} \right) - {\left( {{x_1} - {x_2}} \right)^2} = - \frac{{49}}{{16}}\).
Câu 4:(4 điểm)
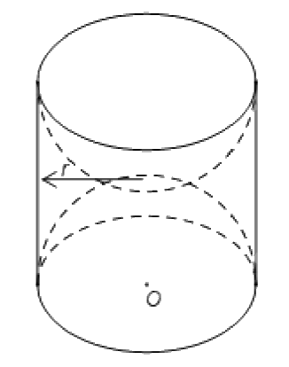
1) Một khối gỗ dạng hình trụ, bán kính đường tròn đáy r = 10 (cm), chiều cao h = 20 (cm). Người ta khoét rỗng hai nửa hình cầu có bán kính 10 (cm) như hình vẽ.

a) Tính thể tích của khối gỗ khi chưa khoét.
b) Hãy tính diện tích bề mặt của khối gỗ còn lại sau khi khoét (diện tích cả ngoài lẫn trong).
Các kết quả làm tròn đến hàng đơn vị.
2) Cho đường tròn (O), dây CD cố định. Gọi B là điểm chính giữa cung nhỏ CD, kẻ đường kính AB cắt CD tại I. Lấy điểm H bất kì trên cung lớn CD, HB cắt CD tại E. Đường thẳng AH cắt CD tại P.
a) Chứng minh tứ giác PHIB nội tiếp.
b) Chứng minh AH.AP = AI.AB.
c) Gọi K là giao điểm của đường thẳng AE và BP. Kẻ \(KM \bot AB\), cắt AB tại M, cắt đường tròn (O) tại N. Chứng minh N, I, H thẳng hàng.
Phương pháp
1)
a) Áp dụng công thức tính thể tích hình trụ: \(V = \pi {r^2}h\).
b) Diện tích bề mặt khối gỗ sau khi khoét gồm diện tích xung quanh hình trụ ban đầu và diện tích hai nửa mặt cầu đã khoét.
Áp dụng công thức tính diện tích xung quanh hình trụ và mặt cầu: \({S_{tru}} = 2\pi rh\); \({S_{cau}} = 4\pi {r^2}\).
2)
a) Chứng minh \(\widehat {PIB} = \widehat {PHB} = {90^o}\).
b) Chứng minh $\Delta ABP\backsim \Delta AHI$ (g.g), suy ra \(\frac{{AB}}{{AH}} = \frac{{AP}}{{AI}}\) rồi kết luận.
c) Chứng minh \(\widehat {HIP} = \widehat {DIN}\), suy ra \(\widehat {PIN} + \widehat {HIP} = {180^o}\) rồi kết luận.
Lời giải
1)
a) Thể tích khối gỗ lúc chưa khoét là: \(V = \pi {r^2}h = \pi {.10^2}.20 \approx 6283\) \(\left( {c{m^3}} \right)\).
b) Diện tích bề mặt khối gỗ sau khi khoét gồm diện tích xung quanh hình trụ ban đầu và diện tích hai nửa mặt cầu đã khoét.
\(S = 2\pi rh + 4\pi {r^2} = 2\pi .10.20 + 4\pi {.10^2} \approx 2513\) \(\left( {c{m^2}} \right)\).
2)

a) Vì B là điểm chính giữa cung nhỏ CD nên B cách đều C và D.
Mà C, D thuộc (O) nên O cũng cách đều C và D.
Do đó, OB là đường trung trực của đoạn thẳng CD, suy ra \(\widehat {PIB} = {90^o}\).
Vì vậy, I thuộc đường tròn đường kính PB.
Mặt khác, H thuộc đường tròn (O) đường kính AB nên \(\widehat {BHA} = \widehat {BHP} = {90^o}\).
Do đó, H thuộc đường tròn đường kính PB.
Vì I, H cùng thuộc đường tròn đường kính PB nên tứ giác PHIB nội tiếp.
b) Tứ giác PHIB nội tiếp nên \(\widehat {HPB} + \widehat {HIB} = {180^o}\), mà \(\widehat {AIH} + \widehat {HIB} = {180^o}\) (góc kề bù), suy ra \(\widehat {HPB} = \widehat {AIH}\).
Xét \(\Delta ABP\) và \(\Delta AHI\) có:
+ \(\widehat {HAI}\) chung;
+ \(\widehat {APB} = \widehat {AIH}\) (chứng minh trên).
Suy ra $\Delta ABP\backsim \Delta AHI$ (g.g), do đó \(\frac{{AB}}{{AH}} = \frac{{AP}}{{AI}}\), vì vậy AH.AP = AI.AB.
c) Xét \(\Delta APB\) có hai đường cao PI và BH cắt nhau tại E, do đó E là trực tâm \(\Delta APB\).
Suy ra AK cũng là đường cao của \(\Delta APB\), do đó \(\widehat {AKB} = {90^o}\) và K thuộc (O).
Ta có \(\widehat {EKB} = \widehat {EIB} = {90^o}\) nên K, I cùng thuộc đường tròn đường kính EB, hay tứ giác EIBK nội tiếp.
Suy ra \(\widehat {EBK} = \widehat {EIK}\) (góc nội tiếp cùng chắn cung EK).
Mặt khác, do tứ giác PHIB nội tiếp nên \(\widehat {EBK} = \widehat {HIP}\) (góc nội tiếp cùng chắn cung PH).
Suy ra \(\widehat {EIK} = \widehat {HIP}\) (1)
Xét \(\Delta OKN\) cân tại O có OM là đường cao, do đó OM đồng thời là đường trung trực của đoạn KN.
Vì I thuộc đường trung trực OM của đoạn thẳng KN nên IK = IN, suy ra \(\Delta IKN\) cân tại I.
\(\Delta IKN\) cân tại I có IM là đường trung tuyến, đồng thời là phân giác của \(\widehat {KIN}\).
Do đó \(\widehat {KIM} = \widehat {NIM}\), suy ra \({90^o} - \widehat {KIM} = {90^o} - \widehat {NIM}\), ta được \(\widehat {EIK} = \widehat {DIN}\) (2)
Từ (1) và (2) suy ra \(\widehat {HIP} = \widehat {DIN}\).
Mặt khác \(\widehat {PIN} + \widehat {DIN} = {180^o}\) (góc kề bù), suy ra \(\widehat {PIN} + \widehat {HIP} = {180^o}\), hay \(\widehat {HIN} = {180^o}\).
Vậy H, I, N thẳng hàng.
Câu 5:(0,5 điểm) Một miếng tôn phẳng hình vuông với kích thước a (cm), người ta muốn cắt đi ở bốn góc bốn hình vuông cạnh bằng x (cm) để uốn thành một hình hộp chữ nhật không có nắp. Phải cắt như thế nào để hình hộp có thể tích lớn nhất?

Phương pháp
Biểu diễn thể tích hình hộp sau khi cắt góc theo x.
Áp dụng bất đẳng thức Cauchy cho ba số dương, tìm x.
Lời giải
Vì cạnh hình vuông bị cắt là x (cm) nên ta có điều kiện: 0 < x < a (cm).
Chiều dài cạnh miếng tôn sau khi cắt là a – 2x (cm), chiều cao hộp là x (cm).
Thể tích hình hộp là \(V = x(a - 2x)(a - 2x) = \frac{1}{4}4x(a - 2x)(a - 2x)\) \((c{m^3})\).
Áp dụng bất đẳng thức Cauchy cho ba số dương, ta có:
\(4x(a - 2x)(a - 2x) \le {\left( {\frac{{4x + a - 2x + a - 2x}}{3}} \right)^3}\)
\(\frac{1}{4}4x(a - 2x)(a - 2x) \le \frac{1}{4}{\left( {\frac{{2a}}{3}} \right)^3}\)
\(S \le \frac{{2{a^3}}}{{27}}\).
Dấu “=” xảy ra khi 4x = a – 2x, suy ra \(x = \frac{a}{6}\) (cm).
Vậy để thể tích hộp lớn nhất, cần cắt 4 góc hình vuông cạnh \(\frac{a}{6}\) (cm).
Câu 1:(1,5 điểm)
1) Nam thống kê lại độ dài quãng đường (đơn vị: km) mình đi bộ mỗi ngày trong tháng 9 và biểu diễn dưới dạng biểu đồ tần số tương đối ghép nhóm sau:

Tìm nhóm có tần số tương đối ghép nhóm lớn nhất. Xác định tần số của nhóm đó.
2) Một hộp có 20 viên bi với kích thước và khối lượng như nhau. Bạn Ngân viết lên các viên bi đó các số 1, 2, 3, …, 20; hai viên bi khác nhau thì viết hai số khác nhau. Xét phép thử “Lấy ngẫu nhiên một viên bi trong hộp”. Tính xác suất biến cố “Số xuất hiện trên viên bi được lấy ra chia 7 dư 1”.
Câu 2:(1,5 điểm) Cho biểu thức \(A = \frac{{\sqrt x - 2}}{{\sqrt x - 1}}\), \(B = \frac{{\sqrt x }}{{\sqrt x + 1}} + \frac{1}{{1 - \sqrt x }} + \frac{2}{{x - 1}}\) với \(x \ge 0\), \(x \ne 1\).
1) Tính giá trị biểu thức A tại x = 9.
2) Chứng minh \(B = \frac{{\sqrt x - 1}}{{\sqrt x + 1}}\).
3) Cho P = A.B. Tìm các giá trị nguyên của x để |P| + P = 0.
Câu 3:(2,5 điểm)
1) Nhân dịp ngày Giỗ Tổ Hùng Vương, một siêu thị điện máy đã giảm giá nhiều mặt hàng để kích cầu mua sắm. Tổng giá niêm yết của một chiếc tủ lạnh và một chiếc máy giặt là 25,4 triệu đồng. Tuy nhiên, trong dịp này tủ lạnh giảm 40% giá niêm yết và máy giặt giảm 25% giá niêm yết. Vì thế, cô Liên đã mua hai mặt hàng trên với tổng số tiền là 16,77 triệu đồng. Hỏi giá niêm yết của mỗi mặt hàng trên là bao nhiêu?
2) Một xí nghiệp sản xuất nước mắm dự định thu mua 120 tấn cá trong một thời gian nhất định. Nhờ đổi mới phương pháp thu mua, xí nghiệp đã mua vượt mức 6 tấn mỗi tuần. Vì vậy, xí nghiệp đã hoàn thành kế hoạch sớm hơn 1 tuần và vượt mức 10 tấn cá. Tính số cá mà xí nghiệp phải mua mỗi tuần theo kế hoạch.
3) Cho phương trình \(4{x^2} - 5x - 3 = 0\) có hai nghiệm là \({x_1}\), \({x_2}\). Không giải phương trình, hãy tính giá trị của biểu thức \(F = \left( {{x_1} + 1} \right)\left( {{x_2} + 1} \right) - {\left( {{x_1} - {x_2}} \right)^2}\).
Câu 4:(4 điểm)
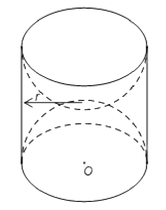
1) Một khối gỗ dạng hình trụ, bán kính đường tròn đáy r = 10 (cm), chiều cao h = 20 (cm). Người ta khoét rỗng hai nửa hình cầu có bán kính 10 (cm) như hình vẽ.

a) Tính thể tích của khối gỗ khi chưa khoét.
b) Hãy tính diện tích bề mặt của khối gỗ còn lại sau khi khoét (diện tích cả ngoài lẫn trong).
Các kết quả làm tròn đến hàng đơn vị.
2) Cho đường tròn (O), dây CD cố định. Gọi B là điểm chính giữa cung nhỏ CD, kẻ đường kính AB cắt CD tại I. Lấy điểm H bất kì trên cung lớn CD, HB cắt CD tại E. Đường thẳng AH cắt CD tại P.
a) Chứng minh tứ giác PHIB nội tiếp.
b) Chứng minh AH.AP = AI.AB.
c) Gọi K là giao điểm của đường thẳng AE và BP. Kẻ \(KM \bot AB\), cắt AB tại M, cắt đường tròn (O) tại N. Chứng minh N, I, H thẳng hàng.
Câu 5:(0,5 điểm) Một miếng tôn phẳng hình vuông với kích thước a (cm), người ta muốn cắt đi ở bốn góc bốn hình vuông cạnh bằng x (cm) để uốn thành một hình hộp chữ nhật không có nắp. Phải cắt như thế nào để hình hộp có thể tích lớn nhất?

Tải về
Câu 1:(1,5 điểm)
1) Nam thống kê lại độ dài quãng đường (đơn vị: km) mình đi bộ mỗi ngày trong tháng 9 và biểu diễn dưới dạng biểu đồ tần số tương đối ghép nhóm sau:

Tìm nhóm có tần số tương đối ghép nhóm lớn nhất. Xác định tần số của nhóm đó.
2) Một hộp có 20 viên bi với kích thước và khối lượng như nhau. Bạn Ngân viết lên các viên bi đó các số 1, 2, 3, …, 20; hai viên bi khác nhau thì viết hai số khác nhau. Xét phép thử “Lấy ngẫu nhiên một viên bi trong hộp”. Tính xác suất biến cố “Số xuất hiện trên viên bi được lấy ra chia 7 dư 1”.
Câu 2:(1,5 điểm) Cho biểu thức \(A = \frac{{\sqrt x - 2}}{{\sqrt x - 1}}\), \(B = \frac{{\sqrt x }}{{\sqrt x + 1}} + \frac{1}{{1 - \sqrt x }} + \frac{2}{{x - 1}}\) với \(x \ge 0\), \(x \ne 1\).
1) Tính giá trị biểu thức A tại x = 9.
2) Chứng minh \(B = \frac{{\sqrt x - 1}}{{\sqrt x + 1}}\).
3) Cho P = A.B. Tìm các giá trị nguyên của x để |P| + P = 0.
Câu 3:(2,5 điểm)
1) Nhân dịp ngày Giỗ Tổ Hùng Vương, một siêu thị điện máy đã giảm giá nhiều mặt hàng để kích cầu mua sắm. Tổng giá niêm yết của một chiếc tủ lạnh và một chiếc máy giặt là 25,4 triệu đồng. Tuy nhiên, trong dịp này tủ lạnh giảm 40% giá niêm yết và máy giặt giảm 25% giá niêm yết. Vì thế, cô Liên đã mua hai mặt hàng trên với tổng số tiền là 16,77 triệu đồng. Hỏi giá niêm yết của mỗi mặt hàng trên là bao nhiêu?
2) Một xí nghiệp sản xuất nước mắm dự định thu mua 120 tấn cá trong một thời gian nhất định. Nhờ đổi mới phương pháp thu mua, xí nghiệp đã mua vượt mức 6 tấn mỗi tuần. Vì vậy, xí nghiệp đã hoàn thành kế hoạch sớm hơn 1 tuần và vượt mức 10 tấn cá. Tính số cá mà xí nghiệp phải mua mỗi tuần theo kế hoạch.
3) Cho phương trình \(4{x^2} - 5x - 3 = 0\) có hai nghiệm là \({x_1}\), \({x_2}\). Không giải phương trình, hãy tính giá trị của biểu thức \(F = \left( {{x_1} + 1} \right)\left( {{x_2} + 1} \right) - {\left( {{x_1} - {x_2}} \right)^2}\).
Câu 4:(4 điểm)
1) Một khối gỗ dạng hình trụ, bán kính đường tròn đáy r = 10 (cm), chiều cao h = 20 (cm). Người ta khoét rỗng hai nửa hình cầu có bán kính 10 (cm) như hình vẽ.

a) Tính thể tích của khối gỗ khi chưa khoét.
b) Hãy tính diện tích bề mặt của khối gỗ còn lại sau khi khoét (diện tích cả ngoài lẫn trong).
Các kết quả làm tròn đến hàng đơn vị.
2) Cho đường tròn (O), dây CD cố định. Gọi B là điểm chính giữa cung nhỏ CD, kẻ đường kính AB cắt CD tại I. Lấy điểm H bất kì trên cung lớn CD, HB cắt CD tại E. Đường thẳng AH cắt CD tại P.
a) Chứng minh tứ giác PHIB nội tiếp.
b) Chứng minh AH.AP = AI.AB.
c) Gọi K là giao điểm của đường thẳng AE và BP. Kẻ \(KM \bot AB\), cắt AB tại M, cắt đường tròn (O) tại N. Chứng minh N, I, H thẳng hàng.
Câu 5:(0,5 điểm) Một miếng tôn phẳng hình vuông với kích thước a (cm), người ta muốn cắt đi ở bốn góc bốn hình vuông cạnh bằng x (cm) để uốn thành một hình hộp chữ nhật không có nắp. Phải cắt như thế nào để hình hộp có thể tích lớn nhất?

Câu 1:(1,5 điểm)
1) Nam thống kê lại độ dài quãng đường (đơn vị: km) mình đi bộ mỗi ngày trong tháng 9 và biểu diễn dưới dạng biểu đồ tần số tương đối ghép nhóm sau:

Tìm nhóm có tần số tương đối ghép nhóm lớn nhất. Xác định tần số của nhóm đó.
2) Một hộp có 20 viên bi với kích thước và khối lượng như nhau. Bạn Ngân viết lên các viên bi đó các số 1, 2, 3, …, 20; hai viên bi khác nhau thì viết hai số khác nhau. Xét phép thử “Lấy ngẫu nhiên một viên bi trong hộp”. Tính xác suất biến cố “Số xuất hiện trên viên bi được lấy ra chia 7 dư 1”.
Phương pháp
1) Xác định nhóm có tần số tương đối ghép nhóm lớn nhất.
Tần số của nhóm = tổng . tần số tương đối.
2) Xác định không gian mẫu của phép thử, tính số phần tử của không gian mẫu.
Tính số kết quả thuận lợi của biến cố.
Xác suất của biến cố = số kết quả thuận lợi của biến cố : số phần tử của không gian mẫu.
Lời giải
1) Nhóm có tần số tương đối ghép nhóm lớn nhất là [5;6) với tần số tương đối ghép nhóm là 40%.
Vì tháng 9 có 30 ngày nên có tất cả 30 số liệu trong mẫu số liệu.
Tần số của nhóm [5;6) là: n = 30.40% = 12.
2) Tập hợp các kết quả có thể xảy ra là: \(\Omega = \{ 1;2;...;20\} \), suy ra \(n\left( \Omega \right) = 20\).
Gọi T: “Số xuất hiện trên viên bi được lấy ra chia 7 dư 1”.
Các kết quả thuận lợi cho T là: 1; 8; 15. Do đó \(n\left( T \right) = 3\).
Vậy xác suất của biến cố “Số xuất hiện trên viên bi được lấy ra chia 7 dư 1” là \(P(T) = \frac{{n(T)}}{{n(\Omega )}} = \frac{3}{{20}}\).
Câu 2:(1,5 điểm) Cho biểu thức \(A = \frac{{\sqrt x - 2}}{{\sqrt x - 1}}\), \(B = \frac{{\sqrt x }}{{\sqrt x + 1}} + \frac{1}{{1 - \sqrt x }} + \frac{2}{{x - 1}}\) với \(x \ge 0\), \(x \ne 1\).
1) Tính giá trị biểu thức A tại x = 9.
2) Chứng minh \(B = \frac{{\sqrt x - 1}}{{\sqrt x + 1}}\).
3) Cho P = A.B. Tìm các giá trị nguyên của x để |P| + P = 0.
Phương pháp
1) Kiểm tra điều kiện của x. Nếu thỏa mãn, thay x = 9 vào A.
2) Kết hợp các tính chất của căn thức bậc hai để rút gọn biểu thức.
3) Rút gọn P. Lập luận suy ra \(P \le 0\). Giải bất phương trình, kết hợp ĐKXĐ để tìm x.
Lời giải
1) Thay x = 9 (thỏa mãn điều kiện) vào A, ta được:
\(A = \frac{{\sqrt x - 2}}{{\sqrt x - 1}} = \frac{{\sqrt 9 - 2}}{{\sqrt 9 - 1}} = \frac{1}{2}\).
Vậy khi x = 9 thì \(A = \frac{1}{2}\).
2) \(B = \frac{{\sqrt x }}{{\sqrt x + 1}} + \frac{1}{{1 - \sqrt x }} + \frac{2}{{x - 1}}\) (\(x \ge 0\), \(x \ne 1\))
\( = \frac{{\sqrt x }}{{\sqrt x + 1}} - \frac{1}{{\sqrt x - 1}} + \frac{2}{{x - 1}}\)
\( = \frac{{\sqrt x \left( {\sqrt x - 1} \right)}}{{\left( {\sqrt x + 1} \right)\left( {\sqrt x - 1} \right)}} - \frac{{\sqrt x + 1}}{{\left( {\sqrt x + 1} \right)\left( {\sqrt x - 1} \right)}} + \frac{2}{{\left( {\sqrt x + 1} \right)\left( {\sqrt x - 1} \right)}}\)
\( = \frac{{x - \sqrt x - \sqrt x - 1 + 2}}{{\left( {\sqrt x + 1} \right)\left( {\sqrt x - 1} \right)}}\)
\( = \frac{{x - 2\sqrt x + 1}}{{\left( {\sqrt x + 1} \right)\left( {\sqrt x - 1} \right)}}\)
\( = \frac{{{{\left( {\sqrt x - 1} \right)}^2}}}{{\left( {\sqrt x + 1} \right)\left( {\sqrt x - 1} \right)}}\)
\( = \frac{{\sqrt x - 1}}{{\sqrt x + 1}}\) (đpcm).
3) \(P = AB = \frac{{\sqrt x - 2}}{{\sqrt x - 1}}.\frac{{\sqrt x - 1}}{{\sqrt x + 1}} = \frac{{\sqrt x - 2}}{{\sqrt x + 1}}\).
Ta có |P| + P = 0, suy ra |P| = -P. Do đó, \(P \le 0\).
Suy ra \(\frac{{\sqrt x - 2}}{{\sqrt x + 1}} \le 0\). Mà \(\sqrt x + 1 > 0\) nên \(\sqrt x - 2 \le 0\)
\(\sqrt x \le 2\)
\(x \le 4\).
Kết hợp với điều kiện \(x \ge 0\), \(x \ne 1\) và x nguyên ta có các giá trị \(x \in \{ 0;2;3;4\} \) thỏa mãn.
Vậy để |P| + P = 0 thì \(x \in \{ 0;2;3;4\} \).
Câu 3:(2,5 điểm)
1) Nhân dịp ngày Giỗ Tổ Hùng Vương, một siêu thị điện máy đã giảm giá nhiều mặt hàng để kích cầu mua sắm. Tổng giá niêm yết của một chiếc tủ lạnh và một chiếc máy giặt là 25,4 triệu đồng. Tuy nhiên, trong dịp này tủ lạnh giảm 40% giá niêm yết và máy giặt giảm 25% giá niêm yết. Vì thế, cô Liên đã mua hai mặt hàng trên với tổng số tiền là 16,77 triệu đồng. Hỏi giá niêm yết của mỗi mặt hàng trên là bao nhiêu?
2) Một xí nghiệp sản xuất nước mắm dự định thu mua 120 tấn cá trong một thời gian nhất định. Nhờ đổi mới phương pháp thu mua, xí nghiệp đã mua vượt mức 6 tấn mỗi tuần. Vì vậy, xí nghiệp đã hoàn thành kế hoạch sớm hơn 1 tuần và vượt mức 10 tấn cá. Tính số cá mà xí nghiệp phải mua mỗi tuần theo kế hoạch.
3) Cho phương trình \(4{x^2} - 5x - 3 = 0\) có hai nghiệm là \({x_1}\), \({x_2}\). Không giải phương trình, hãy tính giá trị của biểu thức \(F = \left( {{x_1} + 1} \right)\left( {{x_2} + 1} \right) - {\left( {{x_1} - {x_2}} \right)^2}\).
Phương pháp
1) Gọi giá niêm yết của một chiếc tủ lạnh và một chiếc máy giặt lần lượt là x, y (triệu đồng; 0 < x < 25,4, 0 < y < 25,4).
Biểu diễn tổng số tiền mua tủ lạnh và máy giặt trước và sau khi giảm giá.
Lập hệ phương trình, giải hệ tìm x, y.
2) Gọi số cá mà xí nghiệp phải mua mỗi tuần theo kế hoạch là x (tấn; 0 < x < 120).
Biểu diễn số tuần xí nghiệp phải thu mua cá theo kế hoạch và thực tế.
Vì xí nghiệp hoàn thành kế hoạch sớm 1 tuần nên ta lập được phương trình.
Giải phương trình để tìm x, kiểm tra điều kiện và kết luận.
3) Kiểm tra sự tồn tại của \({x_1},{x_2}\) dựa vào \(\Delta \).
Biến đổi biểu thức và áp dụng định lí Viète: \(S = {x_1} + {x_2} = - \frac{b}{a}\); \(P = {x_1}.{x_2} = \frac{c}{a}\).
Lời giải
1) Gọi giá niêm yết của một chiếc tủ lạnh và một chiếc máy giặt lần lượt là x, y (triệu đồng; 0 < x < 25, 0 < y < 25).
Vì tổng giá niêm yết của một chiếc tủ lạnh và một chiếc máy giặt là 25,4 triệu đồng nên ta có phương trình:
\(x + y = 25,4\) (1)
Do tủ lạnh được giảm 40% giá niêm yết nên giá của một chiếc tủ lạnh sau giảm giá là:
\((1 - 40\% )x = 60\% x = 0,6x\) (triệu đồng).
Do máy giặt được giảm 25% giá niêm yết nên giá của một chiếc máy giặt sau giảm giá là:
\((1 - 25\% )y = 75\% y = 0,75y\) (triệu đồng).
Cô Liên mua một chiếc tủ lạnh và một chiếc máy giặt hết 16,77 triệu đồng sau giảm giá nên ta có phương trình:
\(0,6x + 0,75y = 16,77\) (2)
Từ (1) và (2), ta có hệ phương trình: \(\left\{ \begin{array}{l}x + y = 25,4\\0,6x + 0,75y = 16,77\end{array} \right.\)
Giải hệ, được x = 15,2 và y = 10,2 (đều TMĐK).
Vậy giá niêm yết của một chiếc tủ lạnh là 15,2 triệu đồng và giá niêm yết của một chiếc máy giặt là 10,2 triệu đồng.
2) Gọi số cá mà xí nghiệp phải mua mỗi tuần theo kế hoạch là x (tấn; 0 < x < 120).
Số tuần xí nghiệp đó định mua cá là \(\frac{{120}}{x}\) tuần.
Thực tế, mỗi tuần xí nghiệp đó thu mua được x + 6 tấn cá.
Tổng số cá vượt mức kế hoạch 10 tấn nên xí nghiệp đó đã thu mua tất cả 120 + 10 = 130 tấn cá.
Do đó, thực tế số tuần xí nghiệp thu mua cá là \(\frac{{130}}{{x + 6}}\) tuần.
Vì xí nghiệp đã hoàn thành kế hoạch sớm hơn 1 tuần nên ta có phương trình:
\(\frac{{120}}{x} - \frac{{130}}{{x + 6}} = 1\)
\(\frac{{120(x + 6)}}{{x(x + 6)}} - \frac{{130x}}{{x(x + 6)}} = \frac{{x(x + 6)}}{{x(x + 6)}}\)
\(120x + 720 - 130x = {x^2} + 6x\)
\({x^2} + 16x - 720 = 0\)
Giải phương trình trên, được x = 20 (thỏa mãn) và x = -36 (không thỏa mãn).
Vậy theo kế hoạch, mỗi tuần xí nghiệp phải thu mua 20 tấn cá.
3) Phương trình \(4{x^2} - 5x - 3 = 0\) có \(\Delta = {\left( { - 5} \right)^2} - 4.4.( - 3) = 73 > 0\) nên phương trình có hai nghiệm \({x_1}\), \({x_2}\).
Áp dụng hệ thức Viète, ta có: \(\left\{ \begin{array}{l}{x_1} + {x_2} = - \frac{b}{a} = - \frac{{ - 5}}{4} = \frac{5}{4}\\{x_1}{x_2} = \frac{c}{a} = \frac{{ - 3}}{4}\end{array} \right.\)
\(F = \left( {{x_1} + 1} \right)\left( {{x_2} + 1} \right) - {\left( {{x_1} - {x_2}} \right)^2}\)
\( = {x_1}{x_2} + {x_1} + {x_2} + 1 - \left( {{x_1}^2 - 2{x_1}{x_2} + {x_2}^2} \right)\)
\( = {x_1}{x_2} + \left( {{x_1} + {x_2}} \right) + 1 - {x_1}^2 + 2{x_1}{x_2} - {x_2}^2\)
\( = 3{x_1}{x_2} + \left( {{x_1} + {x_2}} \right) + 1 - \left( {{x_1}^2 + {x_2}^2} \right)\)
\( = 3{x_1}{x_2} + \left( {{x_1} + {x_2}} \right) + 1 - \left[ {{{\left( {{x_1} + {x_2}} \right)}^2} - 2{x_1}{x_2}} \right]\)
\( = 5{x_1}{x_2} + \left( {{x_1} + {x_2}} \right) + 1 - {\left( {{x_1} + {x_2}} \right)^2}\)
\( = 5\left( {\frac{{ - 3}}{4}} \right) + \frac{5}{4} + 1 - {\left( {\frac{5}{4}} \right)^2} = - \frac{{49}}{{16}}\).
Vậy \(F = \left( {{x_1} + 1} \right)\left( {{x_2} + 1} \right) - {\left( {{x_1} - {x_2}} \right)^2} = - \frac{{49}}{{16}}\).
Câu 4:(4 điểm)
1) Một khối gỗ dạng hình trụ, bán kính đường tròn đáy r = 10 (cm), chiều cao h = 20 (cm). Người ta khoét rỗng hai nửa hình cầu có bán kính 10 (cm) như hình vẽ.

a) Tính thể tích của khối gỗ khi chưa khoét.
b) Hãy tính diện tích bề mặt của khối gỗ còn lại sau khi khoét (diện tích cả ngoài lẫn trong).
Các kết quả làm tròn đến hàng đơn vị.
2) Cho đường tròn (O), dây CD cố định. Gọi B là điểm chính giữa cung nhỏ CD, kẻ đường kính AB cắt CD tại I. Lấy điểm H bất kì trên cung lớn CD, HB cắt CD tại E. Đường thẳng AH cắt CD tại P.
a) Chứng minh tứ giác PHIB nội tiếp.
b) Chứng minh AH.AP = AI.AB.
c) Gọi K là giao điểm của đường thẳng AE và BP. Kẻ \(KM \bot AB\), cắt AB tại M, cắt đường tròn (O) tại N. Chứng minh N, I, H thẳng hàng.
Phương pháp
1)
a) Áp dụng công thức tính thể tích hình trụ: \(V = \pi {r^2}h\).
b) Diện tích bề mặt khối gỗ sau khi khoét gồm diện tích xung quanh hình trụ ban đầu và diện tích hai nửa mặt cầu đã khoét.
Áp dụng công thức tính diện tích xung quanh hình trụ và mặt cầu: \({S_{tru}} = 2\pi rh\); \({S_{cau}} = 4\pi {r^2}\).
2)
a) Chứng minh \(\widehat {PIB} = \widehat {PHB} = {90^o}\).
b) Chứng minh $\Delta ABP\backsim \Delta AHI$ (g.g), suy ra \(\frac{{AB}}{{AH}} = \frac{{AP}}{{AI}}\) rồi kết luận.
c) Chứng minh \(\widehat {HIP} = \widehat {DIN}\), suy ra \(\widehat {PIN} + \widehat {HIP} = {180^o}\) rồi kết luận.
Lời giải
1)
a) Thể tích khối gỗ lúc chưa khoét là: \(V = \pi {r^2}h = \pi {.10^2}.20 \approx 6283\) \(\left( {c{m^3}} \right)\).
b) Diện tích bề mặt khối gỗ sau khi khoét gồm diện tích xung quanh hình trụ ban đầu và diện tích hai nửa mặt cầu đã khoét.
\(S = 2\pi rh + 4\pi {r^2} = 2\pi .10.20 + 4\pi {.10^2} \approx 2513\) \(\left( {c{m^2}} \right)\).
2)

a) Vì B là điểm chính giữa cung nhỏ CD nên B cách đều C và D.
Mà C, D thuộc (O) nên O cũng cách đều C và D.
Do đó, OB là đường trung trực của đoạn thẳng CD, suy ra \(\widehat {PIB} = {90^o}\).
Vì vậy, I thuộc đường tròn đường kính PB.
Mặt khác, H thuộc đường tròn (O) đường kính AB nên \(\widehat {BHA} = \widehat {BHP} = {90^o}\).
Do đó, H thuộc đường tròn đường kính PB.
Vì I, H cùng thuộc đường tròn đường kính PB nên tứ giác PHIB nội tiếp.
b) Tứ giác PHIB nội tiếp nên \(\widehat {HPB} + \widehat {HIB} = {180^o}\), mà \(\widehat {AIH} + \widehat {HIB} = {180^o}\) (góc kề bù), suy ra \(\widehat {HPB} = \widehat {AIH}\).
Xét \(\Delta ABP\) và \(\Delta AHI\) có:
+ \(\widehat {HAI}\) chung;
+ \(\widehat {APB} = \widehat {AIH}\) (chứng minh trên).
Suy ra $\Delta ABP\backsim \Delta AHI$ (g.g), do đó \(\frac{{AB}}{{AH}} = \frac{{AP}}{{AI}}\), vì vậy AH.AP = AI.AB.
c) Xét \(\Delta APB\) có hai đường cao PI và BH cắt nhau tại E, do đó E là trực tâm \(\Delta APB\).
Suy ra AK cũng là đường cao của \(\Delta APB\), do đó \(\widehat {AKB} = {90^o}\) và K thuộc (O).
Ta có \(\widehat {EKB} = \widehat {EIB} = {90^o}\) nên K, I cùng thuộc đường tròn đường kính EB, hay tứ giác EIBK nội tiếp.
Suy ra \(\widehat {EBK} = \widehat {EIK}\) (góc nội tiếp cùng chắn cung EK).
Mặt khác, do tứ giác PHIB nội tiếp nên \(\widehat {EBK} = \widehat {HIP}\) (góc nội tiếp cùng chắn cung PH).
Suy ra \(\widehat {EIK} = \widehat {HIP}\) (1)
Xét \(\Delta OKN\) cân tại O có OM là đường cao, do đó OM đồng thời là đường trung trực của đoạn KN.
Vì I thuộc đường trung trực OM của đoạn thẳng KN nên IK = IN, suy ra \(\Delta IKN\) cân tại I.
\(\Delta IKN\) cân tại I có IM là đường trung tuyến, đồng thời là phân giác của \(\widehat {KIN}\).
Do đó \(\widehat {KIM} = \widehat {NIM}\), suy ra \({90^o} - \widehat {KIM} = {90^o} - \widehat {NIM}\), ta được \(\widehat {EIK} = \widehat {DIN}\) (2)
Từ (1) và (2) suy ra \(\widehat {HIP} = \widehat {DIN}\).
Mặt khác \(\widehat {PIN} + \widehat {DIN} = {180^o}\) (góc kề bù), suy ra \(\widehat {PIN} + \widehat {HIP} = {180^o}\), hay \(\widehat {HIN} = {180^o}\).
Vậy H, I, N thẳng hàng.
Câu 5:(0,5 điểm) Một miếng tôn phẳng hình vuông với kích thước a (cm), người ta muốn cắt đi ở bốn góc bốn hình vuông cạnh bằng x (cm) để uốn thành một hình hộp chữ nhật không có nắp. Phải cắt như thế nào để hình hộp có thể tích lớn nhất?

Phương pháp
Biểu diễn thể tích hình hộp sau khi cắt góc theo x.
Áp dụng bất đẳng thức Cauchy cho ba số dương, tìm x.
Lời giải
Vì cạnh hình vuông bị cắt là x (cm) nên ta có điều kiện: 0 < x < a (cm).
Chiều dài cạnh miếng tôn sau khi cắt là a – 2x (cm), chiều cao hộp là x (cm).
Thể tích hình hộp là \(V = x(a - 2x)(a - 2x) = \frac{1}{4}4x(a - 2x)(a - 2x)\) \((c{m^3})\).
Áp dụng bất đẳng thức Cauchy cho ba số dương, ta có:
\(4x(a - 2x)(a - 2x) \le {\left( {\frac{{4x + a - 2x + a - 2x}}{3}} \right)^3}\)
\(\frac{1}{4}4x(a - 2x)(a - 2x) \le \frac{1}{4}{\left( {\frac{{2a}}{3}} \right)^3}\)
\(S \le \frac{{2{a^3}}}{{27}}\).
Dấu “=” xảy ra khi 4x = a – 2x, suy ra \(x = \frac{a}{6}\) (cm).
Vậy để thể tích hộp lớn nhất, cần cắt 4 góc hình vuông cạnh \(\frac{a}{6}\) (cm).
Kỳ thi tuyển sinh vào lớp 10 tại Hà Nội là một bước ngoặt quan trọng trong sự nghiệp học tập của mỗi học sinh. Để chuẩn bị tốt nhất cho kỳ thi này, việc luyện tập với các đề tham khảo là vô cùng cần thiết. Đề tham khảo thi vào 10 môn Toán Hà Nội năm 2025 - Đề số 8 của giaibaitoan.com được xây dựng với mục tiêu cung cấp cho học sinh một công cụ ôn tập hiệu quả, giúp các em tự tin đối mặt với kỳ thi.
Đề thi này bao gồm các dạng bài tập thường gặp trong các kỳ thi tuyển sinh vào 10 tại Hà Nội, bao gồm:
Câu 1: (Đại số) Giải phương trình: 2x + 3 = 7. Đây là một bài toán cơ bản về phương trình bậc nhất một ẩn. Học sinh cần nắm vững các quy tắc biến đổi phương trình để tìm ra nghiệm đúng.
Câu 2: (Hình học) Cho tam giác ABC vuông tại A, đường cao AH. Chứng minh rằng: AH2 = BH.CH. Đây là một bài toán về hệ thức lượng trong tam giác vuông. Học sinh cần nhớ và vận dụng các hệ thức lượng để chứng minh.
Câu 3: (Số học) Tìm số nguyên tố p sao cho p + 2 cũng là số nguyên tố. Đây là một bài toán về số nguyên tố. Học sinh cần hiểu rõ định nghĩa về số nguyên tố và sử dụng các phương pháp kiểm tra số nguyên tố.
Để giúp học sinh hiểu rõ hơn về đề thi, chúng tôi cung cấp hướng dẫn giải chi tiết cho từng câu hỏi. Hướng dẫn giải bao gồm các bước giải, giải thích rõ ràng và các lưu ý quan trọng.
Khi làm bài thi vào 10 môn Toán, học sinh cần lưu ý những điều sau:
Luyện đề là một phần không thể thiếu trong quá trình chuẩn bị cho kỳ thi vào 10. Việc luyện đề thường xuyên giúp học sinh:
Ngoài Đề tham khảo thi vào 10 môn Toán Hà Nội năm 2025 - Đề số 8, giaibaitoan.com còn cung cấp nhiều đề tham khảo khác với các mức độ khó khác nhau. Học sinh có thể truy cập website của chúng tôi để tìm hiểu thêm và lựa chọn các đề thi phù hợp với trình độ của mình.
Đề tham khảo thi vào 10 môn Toán Hà Nội năm 2025 - Đề số 8 là một tài liệu ôn tập hữu ích cho học sinh đang chuẩn bị cho kỳ thi tuyển sinh vào lớp 10. Hy vọng rằng đề thi này sẽ giúp các em học sinh ôn tập hiệu quả và đạt kết quả cao trong kỳ thi sắp tới. Chúc các em thành công!