Bài 4.16 trang 105 SGK Toán 11 tập 1 là một bài tập quan trọng trong chương trình học Toán 11. Bài tập này yêu cầu học sinh vận dụng kiến thức về vectơ, các phép toán vectơ và ứng dụng của vectơ trong hình học để giải quyết các bài toán cụ thể.
Tại giaibaitoan.com, chúng tôi cung cấp lời giải chi tiết, dễ hiểu cho Bài 4.16 trang 105 SGK Toán 11 tập 1, giúp các em học sinh nắm vững kiến thức và kỹ năng giải toán.
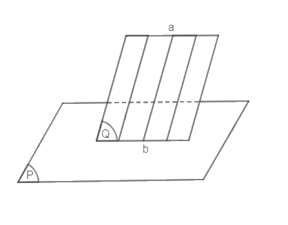
Trong giờ học bóng đá, khi hai bạn Nam và Mai lại gần khung thành thủ môn, bạn Nam khẳng định thanh ngang trên cùng của khung thành và bóng của nó là hình ảnh của hai đường thẳng song song.
Đề bài
Trong giờ học bóng đá, khi hai bạn Nam và Mai lại gần khung thành thủ môn, bạn Nam khẳng định thanh ngang trên cùng của khung thành và bóng của nó là hình ảnh của hai đường thẳng song song. Bạn Mai cho rằng hai đường thẳng này chưa chắc song song vì còn phụ thuộc vào ảnh hưởng của ánh sáng Mặt Trời nữa. Hãy cho biết ai đúng, ai sai. Vì sao? Biết rằng, Mặt Trời cách xa Trái Đất nên các tia sáng có thể xem là những đường thẳng song song.

Phương pháp giải - Xem chi tiết
Áp dụng định lý: Cho đường thẳng a song song với mặt phẳng (P). Nếu mặt phẳng (Q) chứa a và cắt (P) theo giao tuyến b thì b song song với a.
Lời giải chi tiết

Gọi thanh ngang trên cùng của khung thành là a, mặt đất là (P). Các tia sáng song song tạo thành mặt phẳng (Q). Khi đó bóng của thanh ngang chính là giao tuyến của (P) và (Q). Gọi giao tuyến này là b.
Suy ra a và b phải luôn song song với nhau.
Vậy bạn Nam nói đúng, Mai nói sai.
Bài 4.16 trang 105 SGK Toán 11 tập 1 thuộc chương trình Đại số và Giải tích lớp 11, tập trung vào việc củng cố kiến thức về vectơ và ứng dụng của chúng trong giải quyết các bài toán hình học. Để giải quyết bài toán này một cách hiệu quả, học sinh cần nắm vững các khái niệm cơ bản như:
Nội dung bài toán: (Giả sử bài toán yêu cầu chứng minh một đẳng thức vectơ hoặc tính một góc, độ dài liên quan đến vectơ)
Lời giải chi tiết:
Để giải Bài 4.16 trang 105 SGK Toán 11 tập 1, chúng ta sẽ tiến hành theo các bước sau:
Ví dụ minh họa: (Giả sử bài toán yêu cầu chứng minh rằng hai vectơ vuông góc)
Để chứng minh hai vectơ a và b vuông góc, ta cần chứng minh tích vô hướng của chúng bằng 0, tức là a ⋅ b = 0. Ta sẽ sử dụng các công thức và tính chất của tích vô hướng để biến đổi và tính toán, từ đó đưa ra kết luận.
Lưu ý quan trọng:
Mở rộng kiến thức:
Ngoài việc giải Bài 4.16 trang 105 SGK Toán 11 tập 1, các em học sinh có thể tìm hiểu thêm về các ứng dụng của vectơ trong các lĩnh vực khác như vật lý, kỹ thuật, đồ họa máy tính,…
Bài tập tương tự:
Để củng cố kiến thức và kỹ năng giải toán, các em có thể tự giải thêm các bài tập tương tự trong SGK và các tài liệu tham khảo khác.
Kết luận:
Bài 4.16 trang 105 SGK Toán 11 tập 1 là một bài tập quan trọng giúp học sinh hiểu sâu hơn về vectơ và ứng dụng của chúng. Bằng cách nắm vững kiến thức cơ bản, áp dụng các phương pháp giải toán phù hợp và luyện tập thường xuyên, các em có thể tự tin giải quyết các bài toán về vectơ một cách hiệu quả.
Bảng tổng hợp các công thức liên quan đến vectơ:
| Công thức | Mô tả |
|---|---|
| a ⋅ b = |a| |b| cos(α) | Tích vô hướng của hai vectơ |
| |a| = √(x2 + y2) | Độ dài của vectơ a |