Chào mừng bạn đến với bài học về lý thuyết thể tích khối lăng trụ, khối chóp và khối chóp cụt đều, thuộc chương trình SGK Toán 11. Bài học này sẽ cung cấp cho bạn những kiến thức nền tảng và công thức quan trọng để giải quyết các bài toán liên quan đến thể tích trong không gian.
Chúng ta sẽ cùng nhau tìm hiểu định nghĩa, tính chất và các công thức tính thể tích của từng loại khối đa diện này. Đồng thời, bài học cũng sẽ giới thiệu các phương pháp áp dụng lý thuyết vào giải bài tập một cách hiệu quả.
A. Lý thuyết 1. Thể tích khối lăng trụ
A. Lý thuyết
1. Thể tích khối lăng trụ
| Khối lăng trụ là phần không gian được giới hạn bởi một hình lăng trụ kể cả hình lăng trụ ấy. |
Lưu ý: Tên của khối lăng trụ được đặt theo tên của hình lăng trụ giới hạn nó.

| Thể tích khối lăng trụ có diện tích đáy S và chiều cao h là V = Sh. |

2. Thể tích khối chóp
| Khối chóp là phần không gian được giới hạn bởi một hình chóp kể cả hình chóp ấy. |
Lưu ý: Tên của khối chóp được đặt theo tên của hình chóp giới hạn nó.
| Thể tích khối chóp có diện tích đáy S và chiều cao h là \(V = \frac{1}{3}Sh\). |

3. Thể tích khối chóp cụt đều
| Khối chóp cụt đều là phần không gian được giới hạn bởi một hình chóp cụt đều kể cả hình chóp cụt đều ấy. |
Lưu ý: Tên của khối chóp cụt dều được đặt theo tên của hình chóp cụt đều giới hạn nó.
Thể tích khối chóp cụt đều có chiều cao h và diện tích hai đáy lần lượt là S và S’: \(V = \frac{1}{3}h(S + S' + \sqrt {SS'} )\). |

B. Bài tập
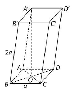
Bài 1: Cho hình lăng trụ ABCD.A’B’C’D’ có cạnh bên bằng 2a, đáy là hình vuông ABCD cạnh a. Hình chiếu của A’ trên mặt phẳng (ABCD) là giao điểm O của AC và BD. Tính thể tích khối lăng trụ này.
Giải:

ABCD là hình vuông cạnh a nên diện tích hình vuông ABCD là \({S_{ABCD}} = {a^2}\).
Hình chiếu của A’ trên (ABCD) là O nên chiều cao hình lăng trụ là A’O.
Ta có: \(A'{O^2} = A'{A^2} - A{O^2} = 4{a^2} - {\left( {\frac{{\sqrt 2 }}{2}a} \right)^2} = \frac{{14{a^2}}}{4} \Rightarrow A'O = \frac{{\sqrt {14} }}{2}a\).
Vậy thể tích khối lăng trụ đã cho là \(V = A'O.{S_{ABCD}} = \frac{{\sqrt {14} }}{2}{a^3}\).
Bài 2: Cho hình chóp S.ABCD có đáy ABCD là hình chữ nhật, cạnh bên SA vuông góc với mặt phẳng đáy và SA = a. Biết rằng \(AB = \sqrt 2 a\), \(AC = \sqrt 3 a\). Tính thể tích của khối chóp này.
Giải:

Ta có A là hình chiếu của A trên mặt đáy (ABCD) nên chiều cao của hình chóp S.ABCD là SA = a.
Vì ABCD là hình chữ nhật nên \(B{C^2} = A{C^2} - A{B^2} = {a^2} \Rightarrow BC = a\) nên diện tích ABCD là \({S_{ABCD}} = AB.BC = \sqrt 2 {a^2}\).
Vậy thể tích khối chóp S.ABCD là \({V_{S.ABCD}} = \frac{1}{3}SA.{S_{ACBD}} = \frac{{\sqrt 2 }}{3}{a^3}\).
Bài 3: Một phòng ngủ ngoài trời có hình dạng hình chóp cụt đều, cạnh đáy lớn bằng 150 cm, cạnh đáy nhỏ bằng 120 cm, chiều cao 180 cm. Tính thể tích phần không gian bên trong phòng ngủ.

Giải:
Cạnh đáy lớn bằng 150 cm nên diện tích đáy lớn là \(S = {150^2} = 22500\) \((c{m^2})\).
Cạnh đáy nhỏ bằng 120 cm nên diện tích đáy nhỏ là \(S' = {120^2} = 14400\) \((c{m^2})\).
Chiều cao chóp cụt là h = 180 cm.
Thể tích phòng ngủ là \(V = \frac{1}{3}h(S + S' + \sqrt {SS'} ) = 3294000\) \((c{m^3})\).

Thể tích là một khái niệm quan trọng trong hình học không gian, đặc biệt là trong chương trình Toán 11. Việc nắm vững lý thuyết và các công thức tính thể tích của các khối đa diện như khối lăng trụ, khối chóp và khối chóp cụt đều là điều cần thiết để giải quyết các bài toán thực tế.
Định nghĩa: Khối lăng trụ là một đa diện được tạo thành bởi hai mặt đáy song song và bằng nhau, và các mặt bên là các hình bình hành.
Công thức tính thể tích: V = B.h, trong đó B là diện tích mặt đáy và h là chiều cao của lăng trụ.
Các loại lăng trụ đặc biệt:
Định nghĩa: Khối chóp là một đa diện được tạo thành bởi một mặt đáy là một đa giác và các mặt bên là các tam giác có chung đỉnh.
Công thức tính thể tích: V = (1/3).B.h, trong đó B là diện tích mặt đáy và h là chiều cao của chóp.
Các loại chóp đặc biệt:
Định nghĩa: Khối chóp cụt đều là phần của một khối chóp bị cắt bởi một mặt phẳng song song với mặt đáy.
Công thức tính thể tích: V = (1/3).h.(B1 + B2 + √(B1.B2)), trong đó h là chiều cao của chóp cụt, B1 và B2 là diện tích của hai mặt đáy.
Bài 1: Tính thể tích của một khối lăng trụ tam giác đều có cạnh đáy bằng 5cm và chiều cao bằng 8cm.
Giải: Diện tích mặt đáy là B = (√3/4).a2 = (√3/4).52 = (25√3)/4 cm2. Thể tích của khối lăng trụ là V = B.h = ((25√3)/4).8 = 50√3 cm3.
Bài 2: Tính thể tích của một khối chóp tứ giác đều có cạnh đáy bằng 6cm và chiều cao bằng 10cm.
Giải: Diện tích mặt đáy là B = a2 = 62 = 36 cm2. Thể tích của khối chóp là V = (1/3).B.h = (1/3).36.10 = 120 cm3.
Bài 3: Tính thể tích của một khối chóp cụt đều có chiều cao bằng 5cm, diện tích mặt đáy lớn bằng 36cm2 và diện tích mặt đáy nhỏ bằng 16cm2.
Giải: Thể tích của khối chóp cụt đều là V = (1/3).h.(B1 + B2 + √(B1.B2)) = (1/3).5.(36 + 16 + √(36.16)) = (1/3).5.(36 + 16 + 24) = (1/3).5.76 = 126.67 cm3.
Khi tính thể tích của các khối đa diện, cần chú ý đến đơn vị đo. Đảm bảo rằng tất cả các kích thước đều được đo bằng cùng một đơn vị trước khi thực hiện các phép tính.
Ngoài ra, cần phân biệt rõ giữa thể tích và diện tích. Thể tích là một đại lượng đo không gian, trong khi diện tích là một đại lượng đo bề mặt.
Hy vọng bài học này đã cung cấp cho bạn những kiến thức hữu ích về lý thuyết thể tích khối lăng trụ, khối chóp và khối chóp cụt đều. Chúc bạn học tập tốt!